-
Home > Products > Glass Insulator > Standard Type
PS-70E Toughened Suspension Glass Insulator
Linear suspension glass insulators PS-70E are used for electrical insulation and fastening of unprotected wires and lightning protection cables, overhead power transmission lines and switchgear of high-voltage substations of 6, 10 kV and higher.
Product Overview

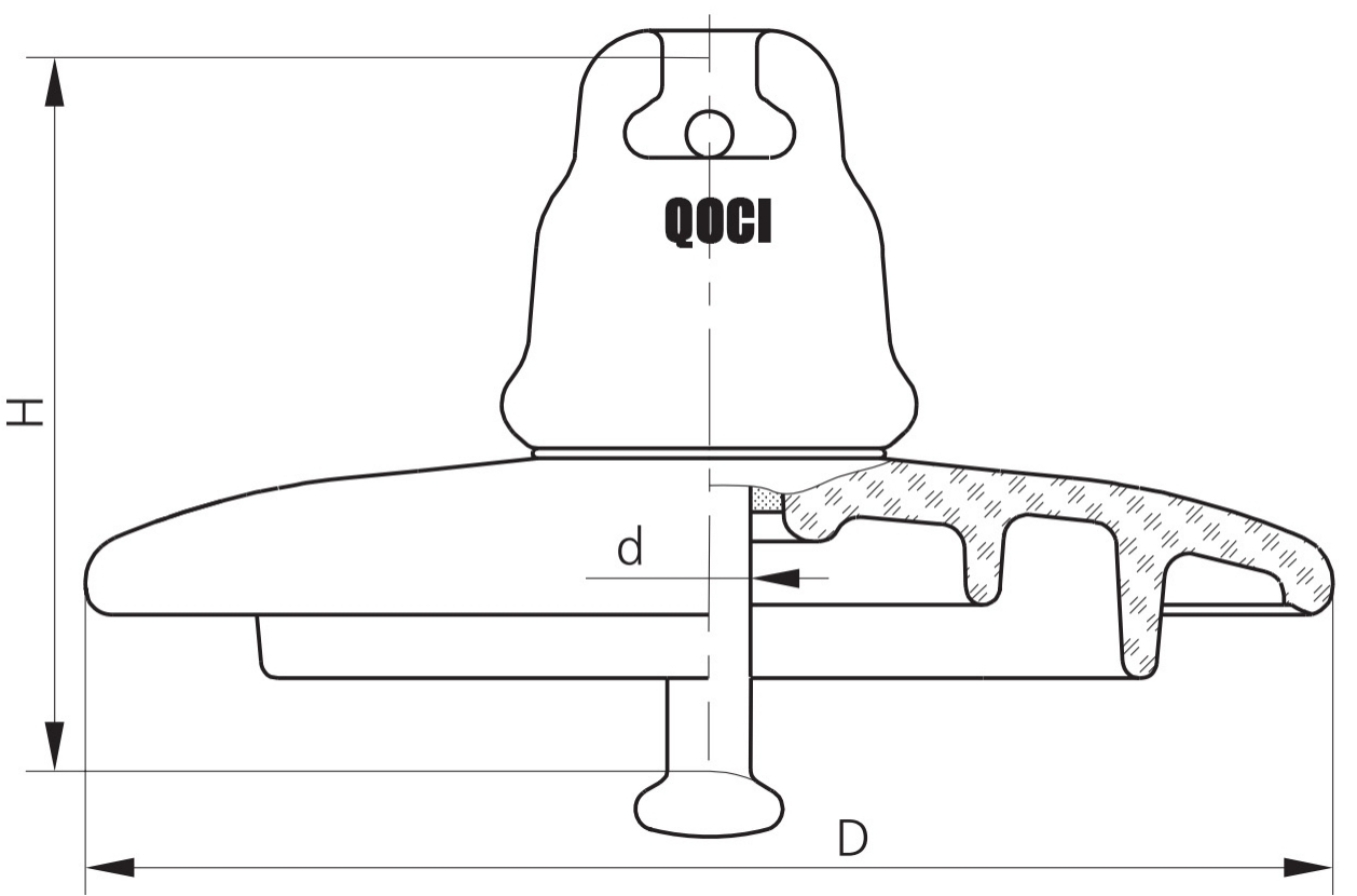
Technical characteristics of insulators PS 70E
|
|
|
ПС 70Е |
ПС 70И |
ПС 120Б |
ПС 160Д |
ПС 210В |
ПС 300В |
ПС 400В |
|
Minimum mechanical failure load |
кН |
70 |
70 |
120 |
160 |
210 |
300 |
400 |
|
Minimum mechanical residual strength |
кН |
56 |
56 |
96 |
128 |
168 |
240 |
320 |
|
Diameter, D |
мм |
255 |
255 |
255 |
280 |
290/300 |
320 |
360 |
|
Construction height, H |
мм |
127 |
146 |
127 |
146/170 |
170/195 |
195 |
205 |
|
Creepage distance |
мм |
320 |
407 |
320 |
385 |
370/380 |
390 |
550 |
|
Spherical connection (ball-and-socket joint), d |
мм |
16 |
16 |
16 |
20 |
20 |
24 |
28 |
|
power frequency puncture voltage |
кВ |
130 |
130 |
130 |
130 |
130 |
130 |
130 |
|
50 Hz withstand voltage (dry) |
кВ |
70 |
72 |
70 |
72 |
72 |
82 |
90 |
|
50 Hz withstand voltage (wet) |
кВ |
40 |
42 |
40 |
45 |
45 |
50 |
55 |
|
Dry lightning impulse withstand voltage 1.2/50 +/– |
кВ |
105/105 |
110/110 |
100/100 |
110/110 |
110/110 |
130/130 |
140/140 |
|
Radio interference voltage at 0.5 MHz |
dB
|
60 |
60 |
60 |
60 |
60 |
60 |
86 |
|
|
kV
|
20 |
20 |
20 |
20 |
20 |
20 |
30 |
|
|
dB
|
86 |
86 |
86 |
86 |
86 |
86 |
|
|
|
kV
|
25 |
25 |
30 |
35 |
40 |
40 |
|
|
Weight |
kg |
3,6 |
4,3 |
3,9 |
6,13 |
7,2 |
10 |
16,2 |
High-voltage transmission lines utilize strings of insulators connected in series in an articulated fashion. The quantity of insulators in the string is determined by the voltage class of the line, the construction of the supports, the type of insulator, and the operating conditions. For lines at 35 kV, two PS insulators are typically installed in the string on wooden supports, and one or two additional ones on metal supports. The selection of the number of suspended insulators for 6-35 kV overhead lines is independent of the altitude above sea level. To avoid spontaneous detachment of the string, the rod is secured within the groove of the cap.




